广晟服务热线:13573670168
0536-6808888
Banner

医疗一体化污水处理设备点击查看

医疗一体化污水处理设备点击查看:

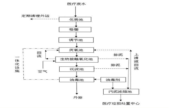
  医疗一体化污水处理设备处理办法采用成熟可靠的A/O生物接触氧化法为处理工艺,同时辅以格栅拦截、沉淀池澄清、消毒剂消毒等物化处理手段,根据《医疗机构水污染物排放标准》GB18466-2005中所规定的排放标准执行。工艺流程简捷、工程造价低、运行经济、便于管理。

8 - 副本_副本.jpg

医疗一体化污水处理设备原则:

  1.医疗污水处理要考虑水体本身,根据现实水体中的细菌、病毒、寄生虫卵的数量和种类,确定污水处理的方法。

  2.医疗污水处理要考虑排放环境,根据污水排向和受纳污水区域环境功能的区划。设计处理工艺流程时,应根据医院规模、性质(传染病医院、综合医院)、污水排放去向(自然水体、通过市政下水道排入城市污水处理厂)、排放标准及当地实际、技术管理水平等因素进行处理流程选择。

mmexport1558256687069_副本.jpg

医疗一体化污水处理设备处理工艺:

1.格栅井

  格栅井内设置格栅,用以去除污水中的软性纤维物及大颗粒杂质,以防堵塞水泵、阀门、管道,确保处理设备的正常运行。格栅采用不锈钢回转式机械格栅,残渣人工定期清理、外运,一般一星期一次。污水经格栅处理后进入调节池。

2.调节池

  医院污水不均匀系数大,为保证处理设施水质水量负荷均匀和保证后续设备的连续运行,因此设计一综合调节池来贮存污水和均匀水质。设计调节池水力停留时间6h。调节池设污水提升泵3台(二用一备,自动切换),池内设液位控制器2套,检修爬梯等基本配套设施。调节池的污水泵将污水提升入污水生化处理系统。

3.水解酸化池

  水解酸化池的主要作用:将污水中难降解有机物分解为溶解性有机质,大分子有机物分解为小分子有机物,本工艺中水解池采用先进的污泥床区配水升流式,可利用底部污泥床截留并吸附颗粒物质、胶体物质及有机物。为了增强水解池的作用,在水解池内装设了ZH悬浮式填料,该填料易挂膜,表面上有丰富的水解酸化细菌,能降解部分COD,并使复杂有机物部分转换为可降解的BOD。同时将污水中的有机氮分解为氨氮。ZH悬浮填料.具有硬性、软性、半软性填料的多项优点,孔径可变性大,不堵塞、不粘连结团;比表面积大、挂膜迅速。

4.接触氧化池

  采用生物接触氧化法作为去除有机物的主体工艺,生物膜法处理医院污水与传统的工艺相比,具有以下特点:①有机负荷高,单位体积去除有机物的能量是生化法中高的,它的容积负荷可高达2-3KgBOD/m2穌。②不产生污泥膨胀,由于不实行污泥回流,因此,不存在污泥的过量繁殖导致反应池缺氧、出水水质恶化的危险。③耐冲击性能好,接触氧化的微生物细菌生长在填料上,当受到高负荷冲击后,生物细菌能很快得到恢复。④管理方便,能实行简单的无人控制而不影响水质,可以减少操作人员,降低运行成本。

5.二沉池

  二沉是为去除经氧化后水中脱落的微生物膜而设置的,采用竖流式斜管沉淀池,设计表面负荷为:2m/m2h,上升流速0.54m/s,沉淀池上部为集水区,中部为沉淀区,下部为滑泥斗。二沉池停留时间为2小时,二沉池集水区设置潜孔出水堰,以防止出水带出表面絮泥。污泥斗倾角为45度,沉淀污泥用空气提升器排泥。

6.消毒池

  医院污水消毒时间按规范为60分钟,采用二氧化氯消毒、折板混合反应的消毒方式,消毒装置能根据处理水量的不同而改变加药量,消毒后的处理水即可达到排放要求。

医院污水.jpg

医疗一体化污水处理设备处理要求:

  (1)、 工艺流程配置合理,运行安全、可靠、简单易行。

  (2)、 设备内部布置考虑运行、维修人员的操作条件。

  (3)、 各单元设备的计算合理、准确、可靠。

  (4) 、就地控制柜考虑自动及手动两种方式。

  (5) 、投标方应根据进出水水质、水量要求,以生物处理工艺为基础合理设计整套工艺系统。

mmexport1499846208511.jpg

医疗一体化污水处理设备排放标准:

  1、 国家医疗机构污水排放标准(GB18466-2005)

  2、《城镇污水处理厂污染物排放标准》(GB18918-2002)

  3、《室外排水设计规范》(GBJ14-87)

  4、《污水排入城市下水道水质标准》(CJ18-86)

  5、《城镇污水处理站附属建筑和附属设备设计标准》

  6、《给水排水工程结构设计规范》

  7、《给水排水构筑物施工及验收规范》(GBJ141—90)

  8、《城市区域环境噪声标准》(GB3096—96)

mmexport1499846245566.jpg


医疗一体化污水处理设备点击查看 2020-8-27 本文被阅读 766 次
< a href=" ">在线客服